Wankel motoros, hátsókerék-hajtású modellt védetett le a Mazda

A terveket már levédették, vajon meg is csinálja a Mazda az RX-8 utódját?

Ez a cikk több mint 90 napja frissült utoljára, ezért kérjük, az olvasása során ezt vegye figyelembe!

Egy hibriddel térhet vissza a Mazda RX szériája, a levédetett tervek alapján egyértelműen egy Wankel-motoros, hátsókerék-hajtású autón dolgoznak a japán márka mérnökei.

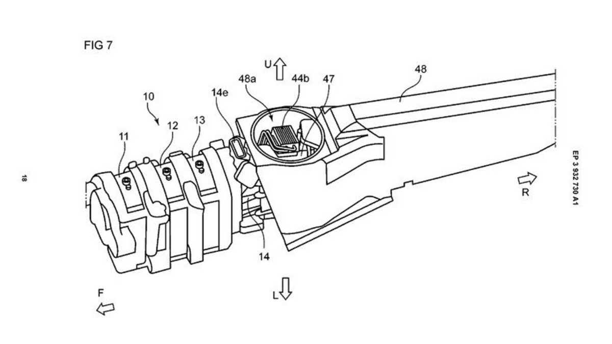
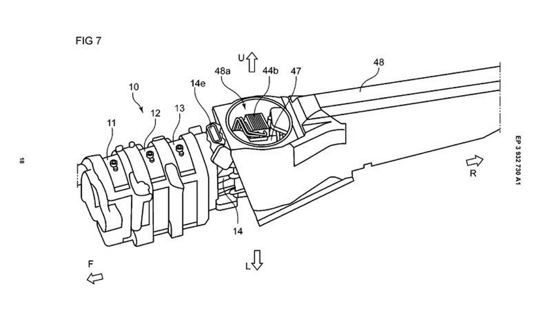
Már közel egy évtized óta nem gyártja a Mazda a legendás RX-8-ast, az utolsó modelljét, amiben bolygódugattyús, avagy közismertebb nevén Wankel motor csalt mosolyt az arcunkra. Bár a cég már többször is nyilvánvalóvá tette, hogy nem adja fel a technológia újjáélesztését, eddig a legközelebb azzal a 2019-es bejelentéssel kerültünk a különleges motorhoz, amely szerint 2022-től az MX-30 hatótávnövelőjeként térhet vissza a technológia. Most viszont minden megváltozott: a Mazda levédetett egy Wankel-hibridet, ami a hátsó kerekein teker. [BANNER type="1"] Ez természetesen még nem jelenti azt, hogy biztosan meg is épül a modell, egyértelművé válik viszont, hogy tényleg dolgoznak az utódláson, és nem tervezik egy villanyautó kiegészítő-erőforrásával kiszúrni a Wankel-rajongók szemét. Néhány éve már védetett le ilyesmit a Mazda, ám akkor csak a lehetőségét hagyták meg a tervekben annak, hogy új modelljeiket a villanymotor mellé ne csak a hagyományos benzinmotorokkal társítsák a későbbiekben. A most bejegyzett terveken viszont egyértelműen a várva-várt technológiát láthatjuk, ráadásul háromrotoros elrendezésben, amit utoljára a '90-es évek Cosmo kupéjában alkalmaztak. További pozitív előjel, hogy jelenleg egyébként is egy hátsókerekes platformot fejleszt a Mazda, így még több az esély rá hogy komolyan gondolják a dolgot.
Tetszett a cikk?

Iratkozz fel hírlevelünkre, hogy azonnal értesülj a legfrissebb és legnépszerűbb cikkekről, amint megjelennek az Autónavigátoron!

Feliratkozom a hírlevélre

Vélemény, hozzászólás?