Friss:
  • Még idén elérheti a 100 000 darabot az itthon forgalomba helyezett villanyautók száma
  • Ismét hallgat a rajongókra a Toyota: még egy népszerű típust éleszthetnek újjá!
  • Ha még nem láttad az új Gymkhanát, akkor itt az ideje pótolni a lemaradást!
  • 647 milliárd forintra nőhet idén a Porsche Hungaria árbevétele
  • Ittas vezetők kiszűrésére fókuszál a rendőrség a következő héten
  • Benzin: 566 Ft -
  • Dízel: 576 Ft ▼

Autónavigátor.hu

Autónavigátor.hu

  • Hírek, cikkek
    • Autósvilág hírei
    • Használtautó
    • Haszonjármű
    • Szívató
    • Sztori
    • Tippek, tanácsadók
    • Újdonság
  • Tesztek
  • Vételi tanácsadó
  • Videók
  • Belépés/regisztráció

Cimke: robot

Robotkutyák a minőségellenőrök a Hyundai amerikai gyárában

2025.05.12.2025.05.12. Horváth András
Hatalmas beruházással válaszolt a védővámokra a Hyundai, hiszen a dél-koreai márka tovább bővíti amerikai érdekeltségeit.

Kezdhetnek aggódni az autógyárakban dolgozó munkások?

2025.03.28.2025.03.28. Németh Kornél 0
Egyre kevesebb betanított, monoton munkahely marad biztonságban az autóiparban, ahogy fejlődik a technológia és a mesterséges intelligencia.

Kétüléses önvezető taxit ígér a Tesla 11 millióért

2024.10.11.2024.10.11. Németh Kornél 0
Lezajlott a Tech-óriás legújabb bemutatója, a legnagyobb durranás pedig nem más, mint a Tesla Cybercab, amely olyannyira önvezető, hogy pedálok és kormánykerék nélkül érkezik.

A következő új BMW-det emberszabású robotok szerelhetik össze

2024.08.19.2024.08.17. 1
Bizonyos részegységek összeszerelésére már az "ingyen" dolgozó munkaerő is képes, de aggodalomra nincs ok, a robotok nem fogják teljesen elvenni az emberek munkáját.

Az angolok már most az önvezető autókhoz igazítanák a KRESZ-t

2023.09.15.2023.09.15. Németh Kornél 0
Rengeteg érdekes megközelítéssel álltak elő az angolok az önvezető autók szabályozásának sürgetésével kapcsolatban: mutatjuk a legérdekesebb pontokat.

Még idén önvezető autókkal újít az Uber!

2022.10.07.2022.10.08. Németh Kornél 0
Év végén már az utakra kerülhetnek az Uber és a Motional 10 éves kollaborációs megegyezésének első önvezető autói. Mutatjuk a részleteket, illetve hogy mit várnak a projekttől a felek!

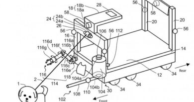
Kutyagumi-szedő, ebsétáltató robottal foglalkozik a Toyota

2022.05.15.2022.05.15. Eged István Renátó 0
Mozgássérülteknek és a lusta gazdáknak egyaránt hasznos találmány lenne a Toyota legújabb szabadalmi terve.

Mindent mobilizálni szeretne a Hyundai

2021.12.28.2021.12.28. Eged István Renátó 0
Olyan dolgokat is bekapcsolna a mobilitás világába a Hyundai, amiről ma el sem tudjuk képzelni, hogy tudnának mozogni.

Odajön, hogy feltöltse neked az autódat

2021.10.22.2021.10.23. Németh Kornél 0
Egy teljesen önállóan dolgozó robot vehetné át a jövő "benzinkutasainak" szerepét a Siemensnek hála. Az automatizált töltőrobot mindent megcsinál, ami a hagyományos töltőállomásokon a kútkezelő - vagy annak hiányában a sofőr - feladata.

Robotokkal teszteli az autók tűrőképességét a Ford

2021.08.26.2021.08.26. Gorzás Gergő 0
2018-ban nyitotta Európa szerte egyedülálló gyárát a Ford, melyet a cég berkein belül csak "Időjárás Gyárként" emlegetnek. A közel 70 millió euróból épült gyárban szinte minden extrém időjárási körülményt képesek szimulálni.
  • Előző →

Videó ajánló

Hírlevél

Iratkozz fel hírlevelünkre, hogy azonnal értesülj a legfrissebb és legnépszerűbb cikkekről, amint megjelennek az Autónavigátoron!

Feliratkozom

Facebook

  • Top5
  • Friss
  • Kommentek
Két nap alatt közel 20 forint? Látványosan olcsóbb lesz az egyik üzemanyag!

Két nap alatt közel 20 forint? Látványosan olcsóbb lesz az egyik üzemanyag!

2025.11.28. Németh Kornél Két nap alatt közel 20 forint? Látványosan olcsóbb lesz az egyik üzemanyag! bejegyzéshez a hozzászólások lehetősége kikapcsolva
Látványosan levitték a kínai Vitara-konkurens árát: ennyi most a Tiggo 4

Látványosan levitték a kínai Vitara-konkurens árát: ennyi most a Tiggo 4

2025.11.18. Németh Kornél No Comments
Beárazták itthon a vadiúj Toyota RAV4-et! Ennyit kérnek érte!

Beárazták itthon a vadiúj Toyota RAV4-et! Ennyit kérnek érte!

2025.12.04. Gorzás Gergő No Comments
Pénteken is csökken mindkét üzemanyag ára, mutatjuk, mennyivel!

Pénteken is csökken mindkét üzemanyag ára, mutatjuk, mennyivel!

2025.12.04. Gorzás Gergő No Comments
Nincs megállás: még olcsóbb lesz mindkét üzemanyag!

Nincs megállás: még olcsóbb lesz mindkét üzemanyag!

2025.12.02. Németh Kornél No Comments
Még idén elérheti a 100 000 darabot az itthon forgalomba helyezett villanyautók száma

Még idén elérheti a 100 000 darabot az itthon forgalomba helyezett villanyautók száma

2025.12.14. Horváth András
Ismét hallgat a rajongókra a Toyota: még egy népszerű típust éleszthetnek újjá!

Ismét hallgat a rajongókra a Toyota: még egy népszerű típust éleszthetnek újjá!

2025.12.14. Németh Kornél
Ha még nem láttad az új Gymkhanát, akkor itt az ideje pótolni a lemaradást!

Ha még nem láttad az új Gymkhanát, akkor itt az ideje pótolni a lemaradást!

2025.12.14. Horváth András
647 milliárd forintra nőhet idén a Porsche Hungaria árbevétele

647 milliárd forintra nőhet idén a Porsche Hungaria árbevétele

2025.12.14. Horváth András
Ittas vezetők kiszűrésére fókuszál a rendőrség a következő héten

Ittas vezetők kiszűrésére fókuszál a rendőrség a következő héten

2025.12.13. Horváth András
  • Bombahír: ennyivel halaszthatja el az EU a belső égésű motorok tiltását!Névtelen

    @qq: annyira agyhalott vagy hogy semminek sem néz...

  • Hirtelen felindulásból büntetőfékezett, nagyon pórul járt! Íme a videó!Névtelen

    Ándinak sietett a rúzzsal! Még őt fogják men...

  • Bombahír: ennyivel halaszthatja el az EU a belső égésű motorok tiltását!Névtelen

    Mennyire kell agyhalottnak lenni hogy valaki alapd...

  • Bombahír: ennyivel halaszthatja el az EU a belső égésű motorok tiltását!Névtelen

    Nem érzed kicsit sem át hogy mennyire szánalmas...

  • Bombahír: ennyivel halaszthatja el az EU a belső égésű motorok tiltását!Névtelen

    Egy dolgot kéne kitiltani innen: ezeket az agyhal...

  • Rovatok

    • Autósvilág hírei
    • Tesztek
    • Sztori
    • Újdonság

    Oldalaink

    • Racingline.hu
    • Rallycafe.hu
    • P1race.hu
    • 500miles.hu
    • Impresszum
    • Médiaajánlat
    • Felhasználási feltételek
    • Adatvédelmi Tájékoztató
    • Süti Kezelés
    • RSS