Félúton a BMW jelenlegi kézi és automata váltókarja között. Működését tekintve is
Hogy változik a világ, nemrég még az automata váltók voltak lomhák, lassúak és pazarlók, továbbá a kézzel váltó ember gyors és hatékony, de az önkapcsolós szerkezetek töretlen fejlődése és a fokozatok számának növelése miatt az utóbbi időben fordult a kocka, a humán kapcsolással vezetett autók már nem tudják felvenni a versenyt a 7-8, sőt lassan 9-fokozatú automaták fogyasztásával.
Kézi váltóba ennyi fokozatot bezsúfolni eddig nem lehetett, mert az egymáshoz képest túl közel elhelyezkedő fokozatok miatt túl nagy lenne a mellékapcsolás, s ezáltal a mechanikus rombolás esélye. A BMW így írja le a problémát: nyolc fokozatnál csak az előremeneti fokozatokhoz kellene négy külön sík, és ez több, mint amit az átlagos sofőr biztonsággal, illetve valóban hatékonyan kezelni tud. A bajorok megoldása egy olyan szerkezet, amely csak a megfelelő fokozatba engedi betolni a váltókart.
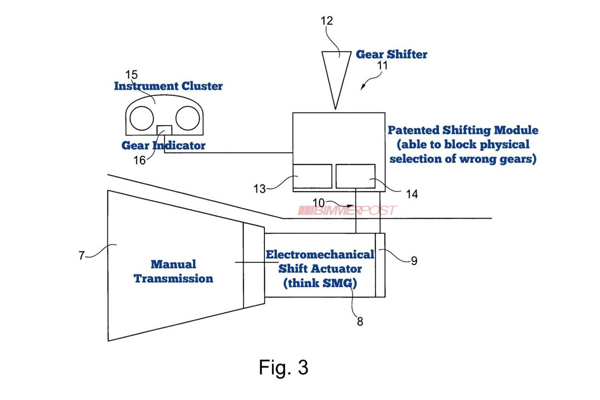
Kézi váltó (7), elektromechanikus kapcsolószerkezet (8, 9), félrekapcsolást megakadályozó váltókulissza (14), váltókar (12), fokozatkijelzés (16)
[BANNER type="1"]
Mindezt egy – lengéscsillapítókból már ismert – a váltókulisszában áramló magneto- vagy elektroreológiai elven működő folyadékkal biztosítaná a BMW. A többféle szenzor jelzéseit feldolgozó számítógép által vezérelt váltómodul kiszámolja, hogy mely fokozatok jöhetnek szóba, és melyek kapcsolása okozna problémát, így nem engedné, hogy 15 km/h-nál 5-ösbe, vagy ami még rosszabb, 150-nél 1-esbe kapcsoljon a sofőr. A rendszer mágneses mező vagy elektromos töltés kialakításával változtatná meg a reológiai folyadék viszkozitását, ami ezáltal fizikailag tenné lehetetlenné a helytelen fokozat kapcsolását.
A technológia alkalmazását kétféle, mechanikus kapcsolású kuplungos, illetve shift-by-wire rendszerű kuplung nélküli kivitelben is kidolgozták. Az első esetben a sofőr hagyományos módon, kuplung kinyomásával, kézzel választhatna fokozatot a kulisszában, a váltómodul pedig simán a problémás fokozatok kizárásával segítené a váltásokat.
A BMW az SMG-rendszerhez hasonlatos, kuplung nélküli, de kézzel kapcsolható shift-by-wire alkalmazást is szabadalmaztatott. Ha a vezérlés egyetért a sofőr váltókarral meghozott döntésével, akkor oldja a kuplungot, kiválasztja a fokozatot, és a váltókar csak ekkor tolható be a kulissza megfelelő résébe. Ha tévedne a vezető, akkor zár a rendszer, ugyanúgy, mint a kuplungos verzió esetében. A váltási idő kevesebb, mint egy másodperc, azaz a technika ilyen jellegű alkalmazása a puristák számára kicsit lassúnak tűnne, de ha faragnak a kapcsolási időből, akár még sikeres is lehet a megoldás. Persze még eltelhet pár év, mire piacra kerül az új váltó, de az örömteli, hogy vannak még cégek, akik hisznek a manuális váltóban, és nem restek fejleszteni, hogy utolérjék a pillanatnyilag beelőző automatákat.


