Az A-oszlopokba ültetne csőlégzsákokat a Daimler
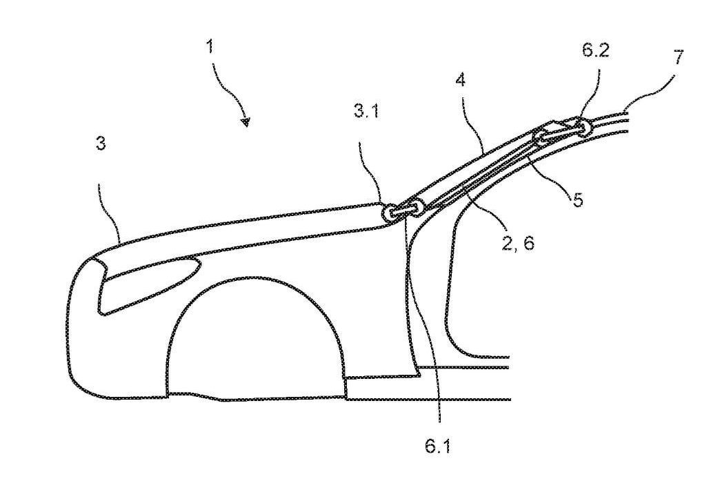
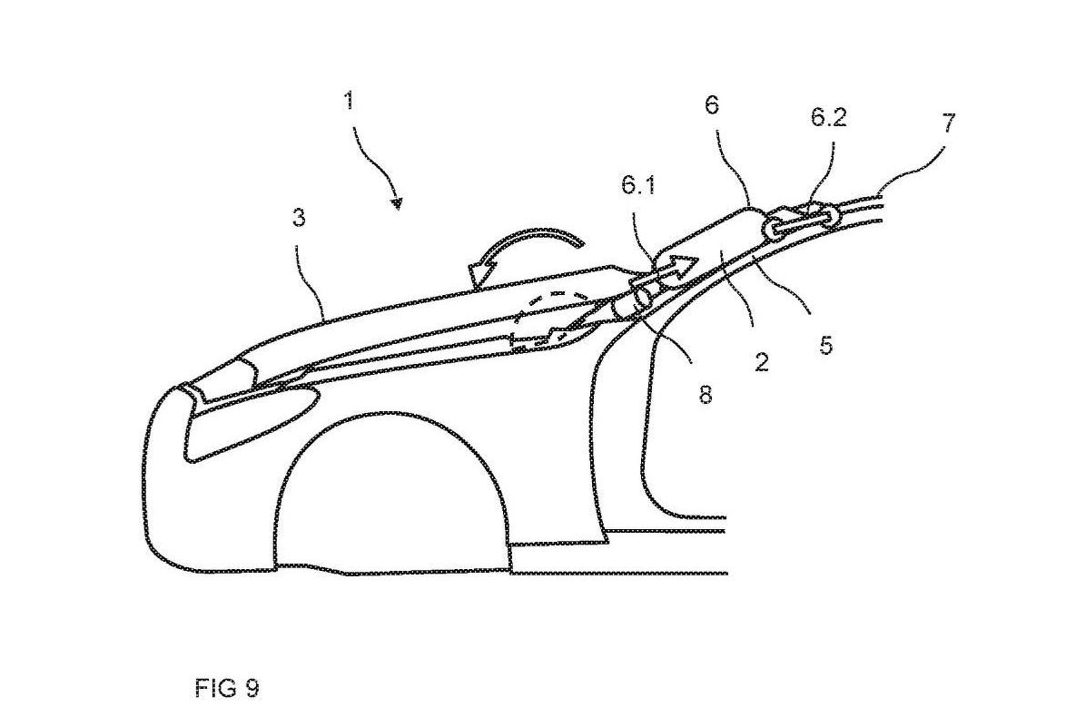
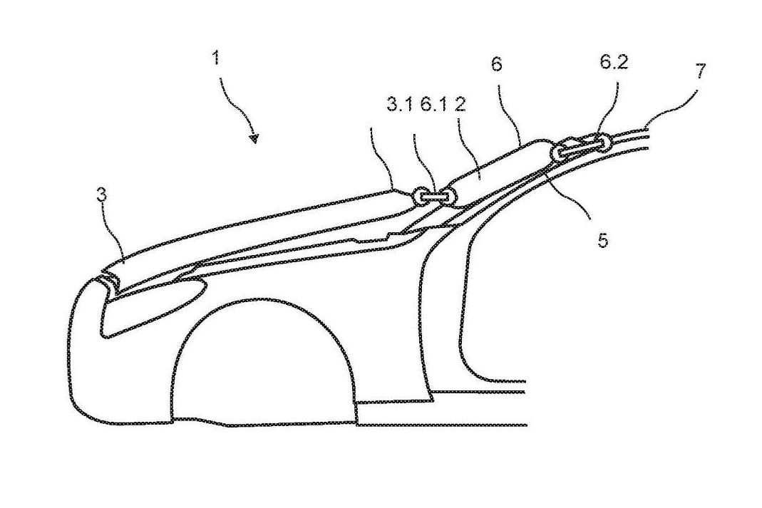
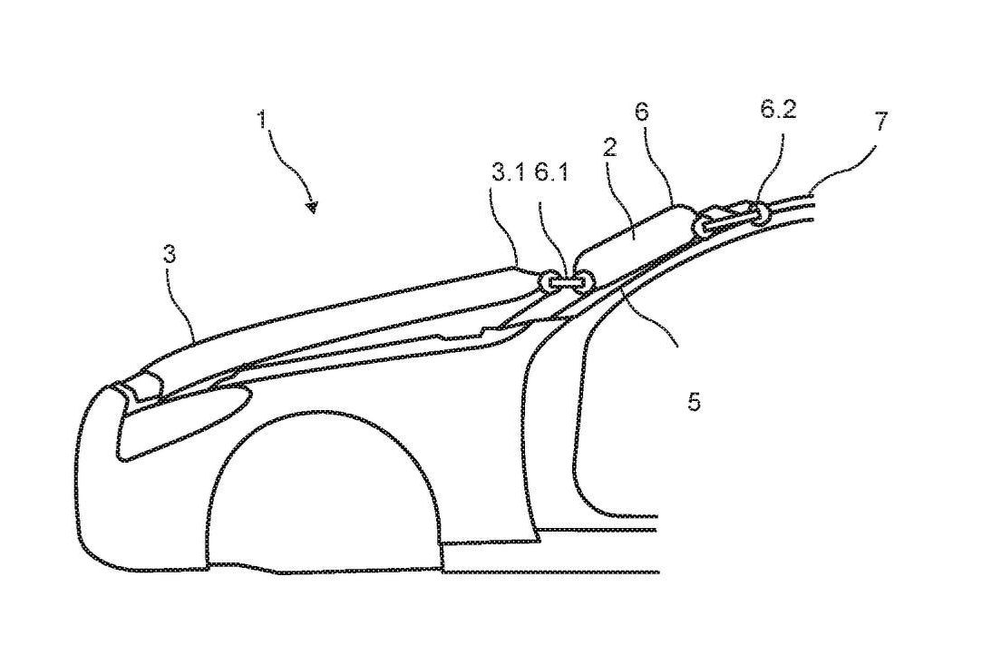
A Daimler egy újabb szabadalma került napvilágra az Egyesült Államok Szabadalmi Hivatala által. Az új találmány az ütközések során felpattanó motorháztető technológiáját gondolja tovább, amit már többen is használnak az autóiparban, bár főképp a prémium szegmensben. A technológia célja, hogy a járókelők sérüléseit csökkentse egy esetleges frontális gázolás során azzal, hogy nagyobb, így tompább és nem mellesleg puhább, könnyedén deformálódó becsapódási felületet biztosít. Az említett új szabadalom részeként benyújtott rajzok egy Mercedes-Benz C-osztályt ábrázolnak, ami már nem csak fellőné a motorháztetőt a sarkokba helyezett apró szerkezeteknek köszönhetően, de két A-oszlopra elhelyezett extra légzsákkal is növelné a biztonságot.
[BANNER type="1"]
Alapvetően szinte észrevétlen lenne a két extra légzsák, becsapódáskor azonban kinyílnának és szabadon mozognának a motorháztetővel együtt
Az új légzsákok alapvetően takarólemez alatt, így észrevehetetlenek lennének használaton kívül. Két ponton csatlakoznának, egyik karmukkal az A-oszlop tetejébe, másikkal a motorháztetőbe. Tehát becsapódáskor a motorháztető irányát követve mozoghatnának. A Mercedes egyébként már 2015 júliusában benyújtotta ezt a szabadalmat, de csak most hozták nyilvánosságra, így valószínű, hogy hamarosan élesben is bevethetik valamelyik modellben.
-Hirdetés -





