Óvatosan adagolják új sportkupéjuk részleteit Mazdáék, egyelőre egy MX-5-ön ábrázolják a mozgatható hátsó szárnyat
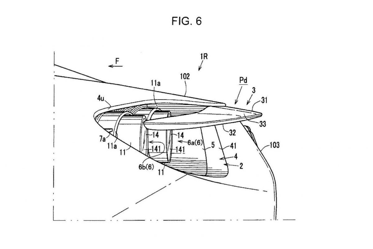
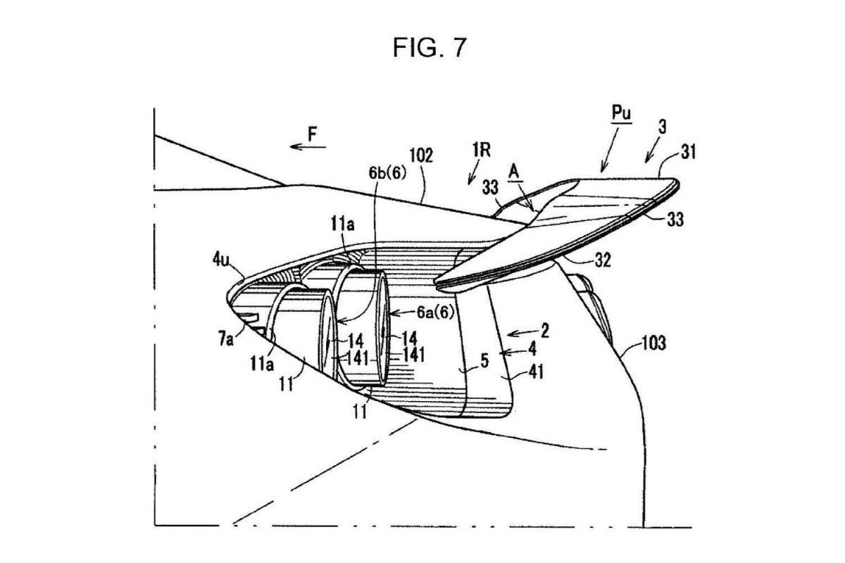
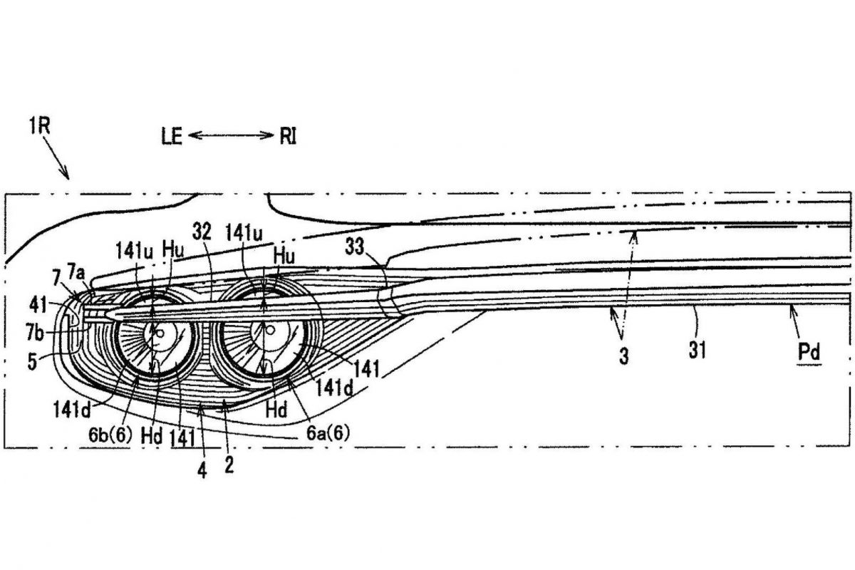
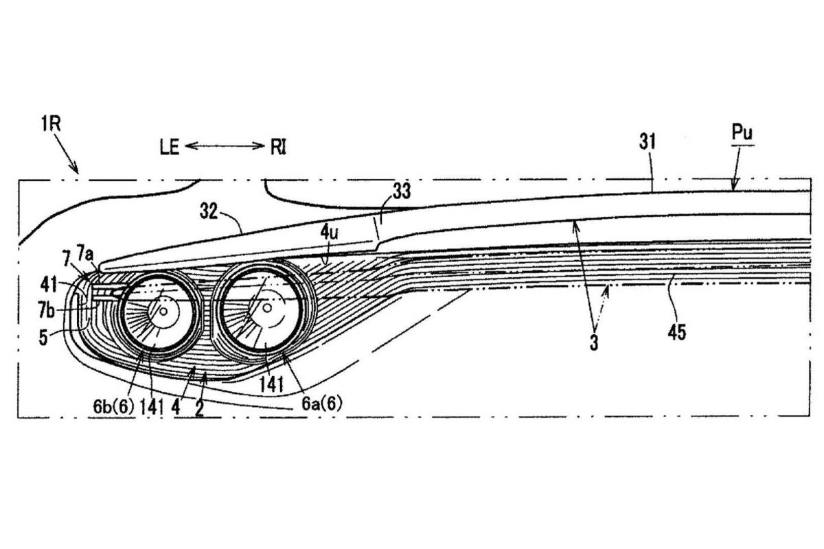
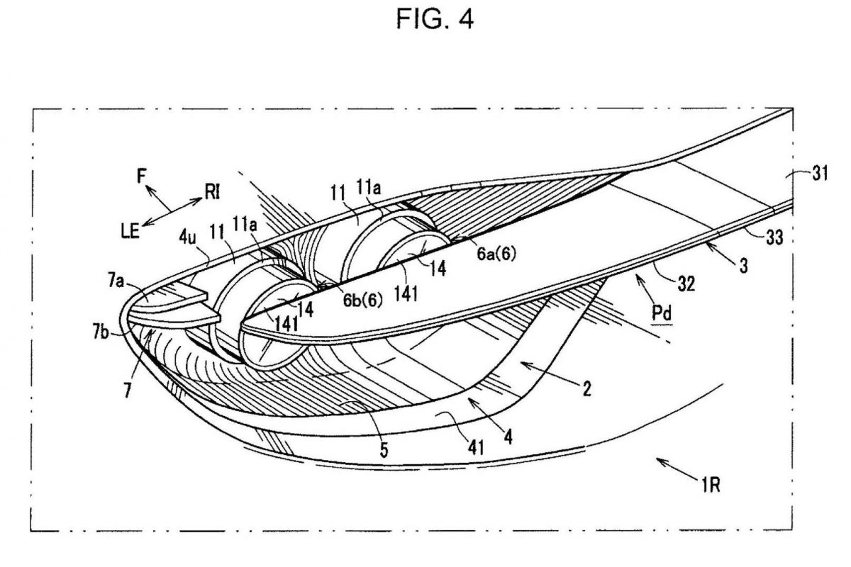
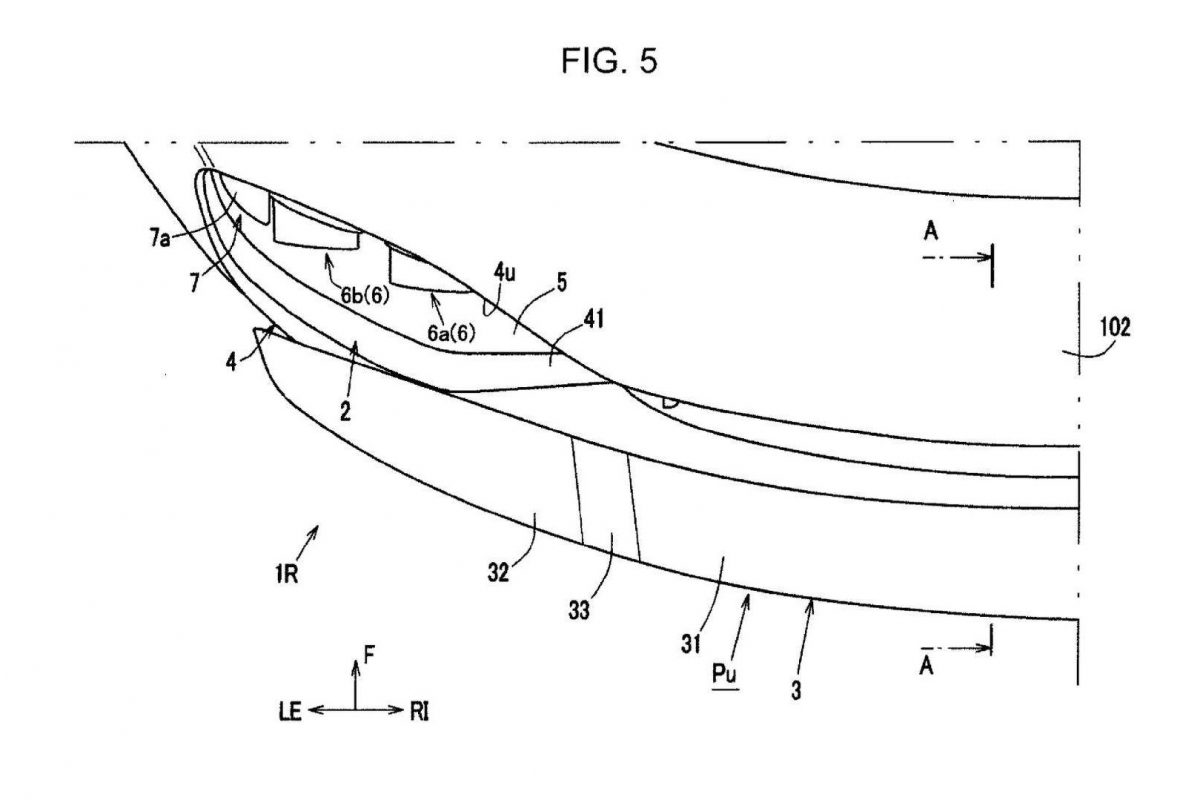
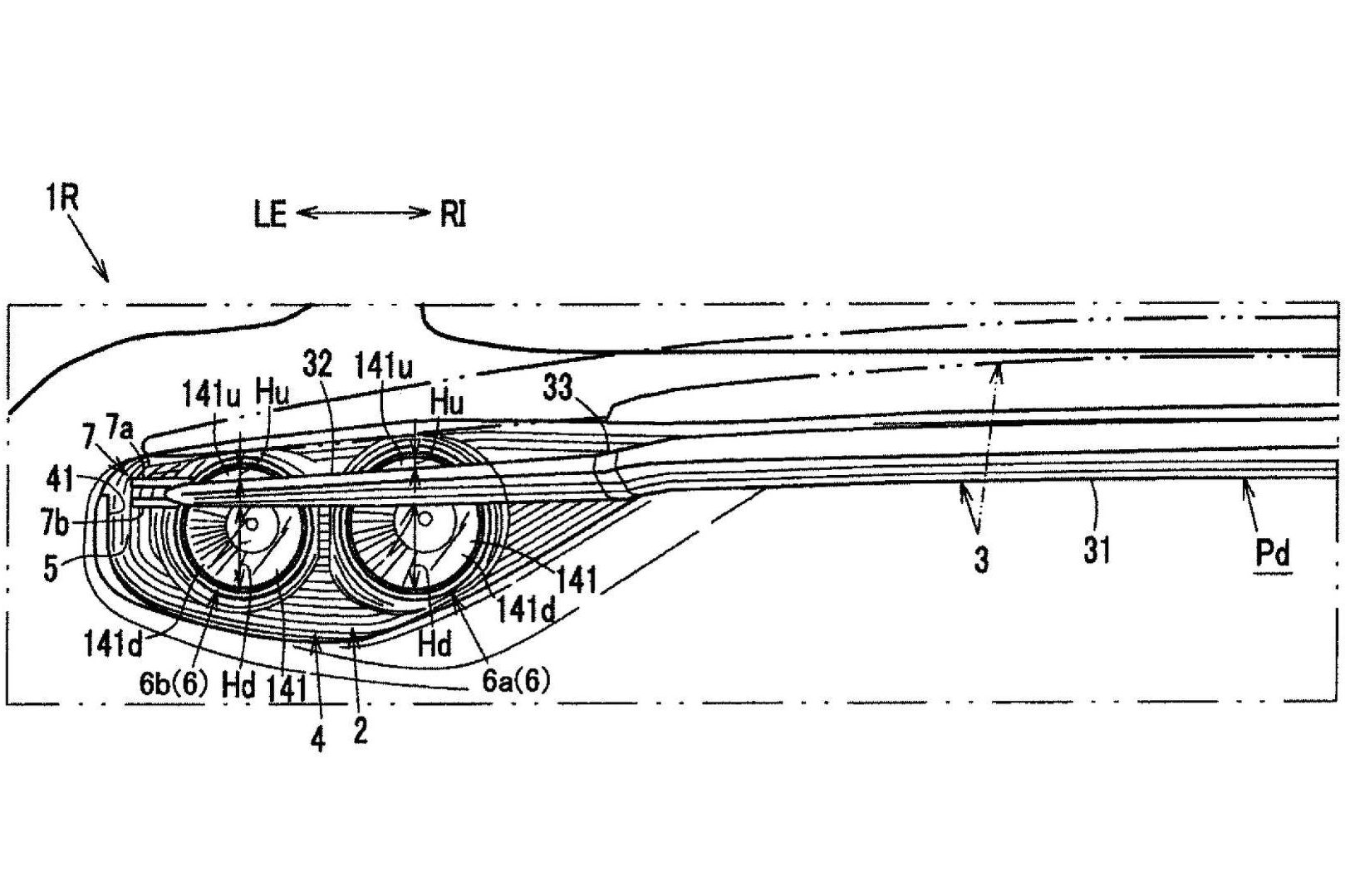
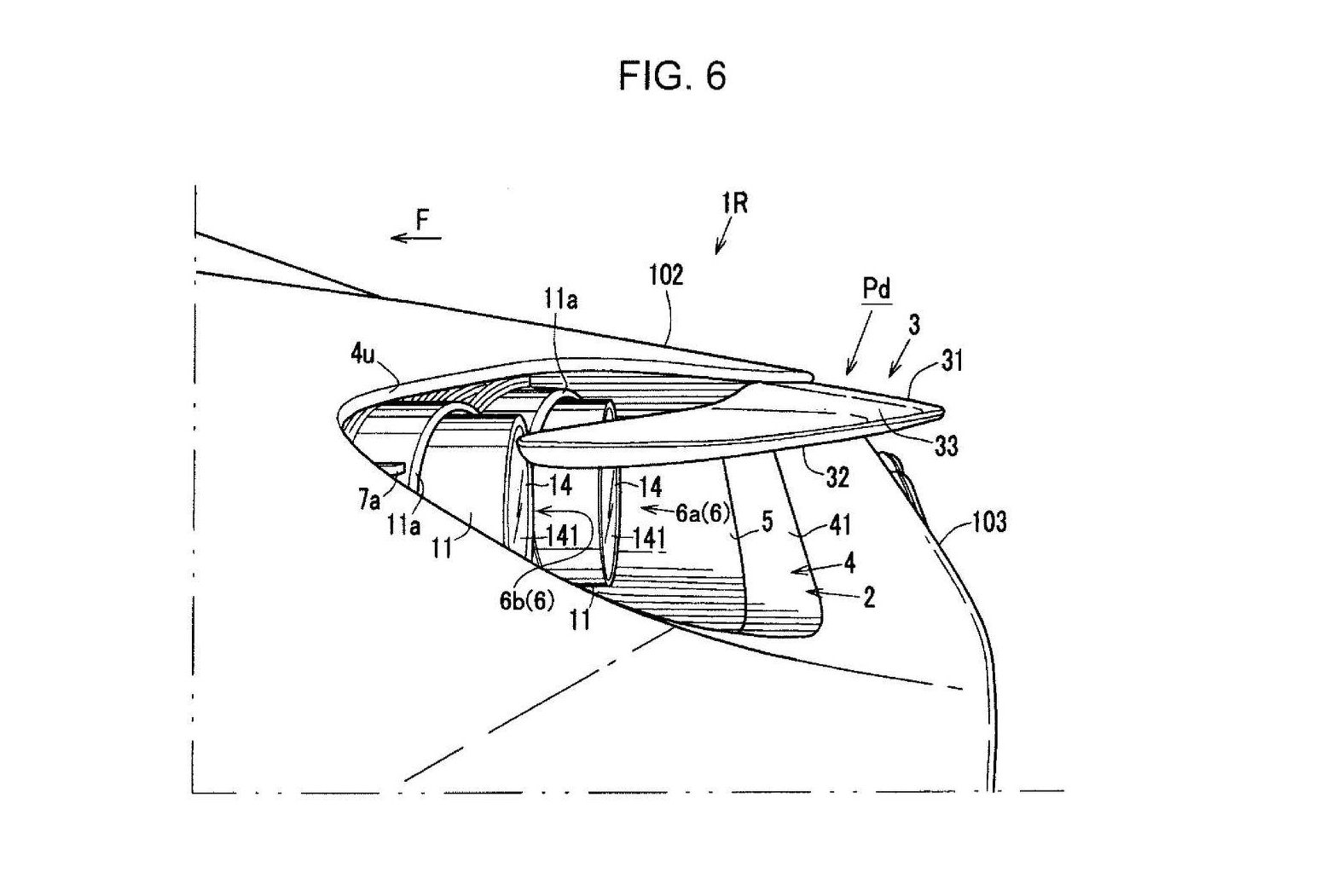
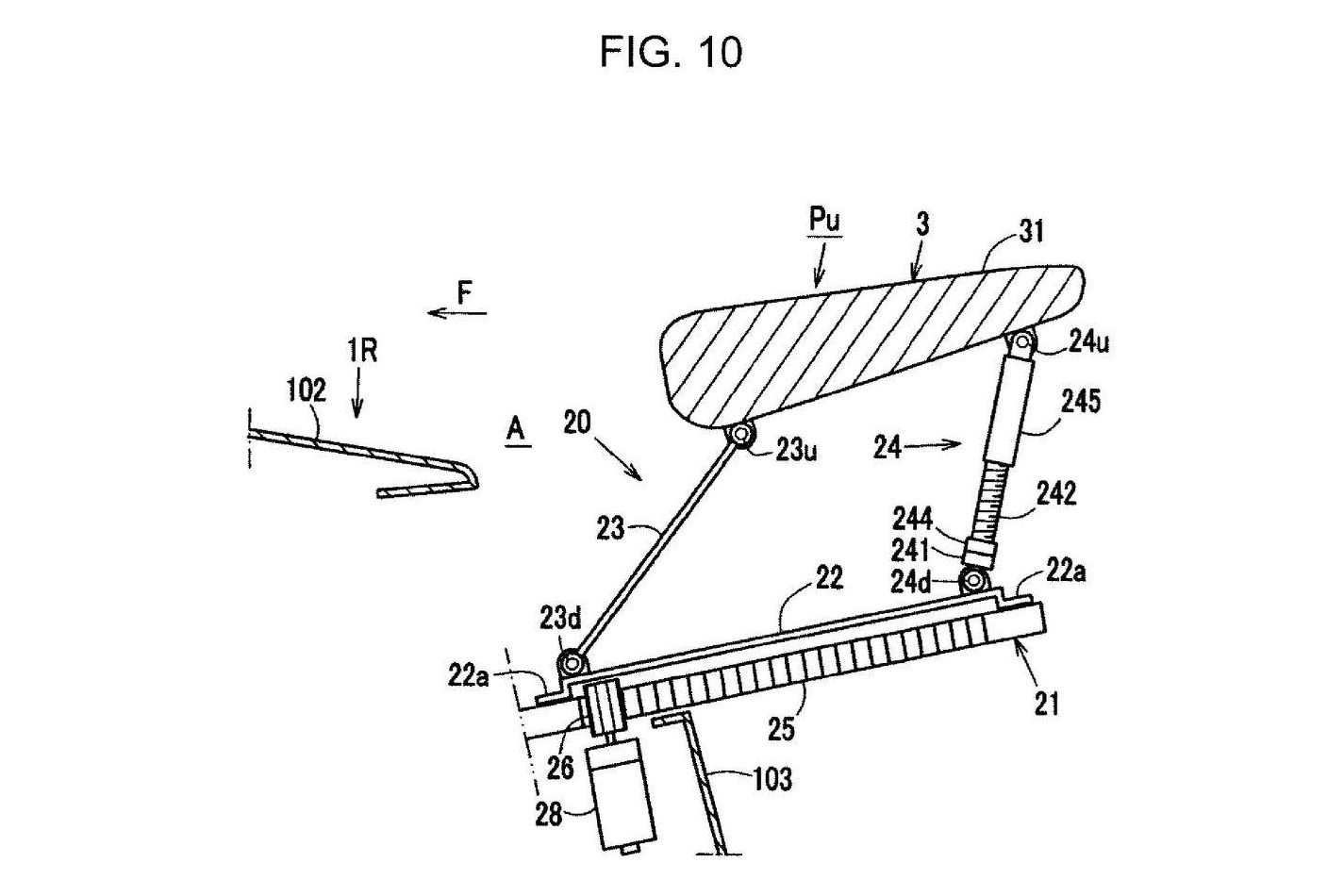
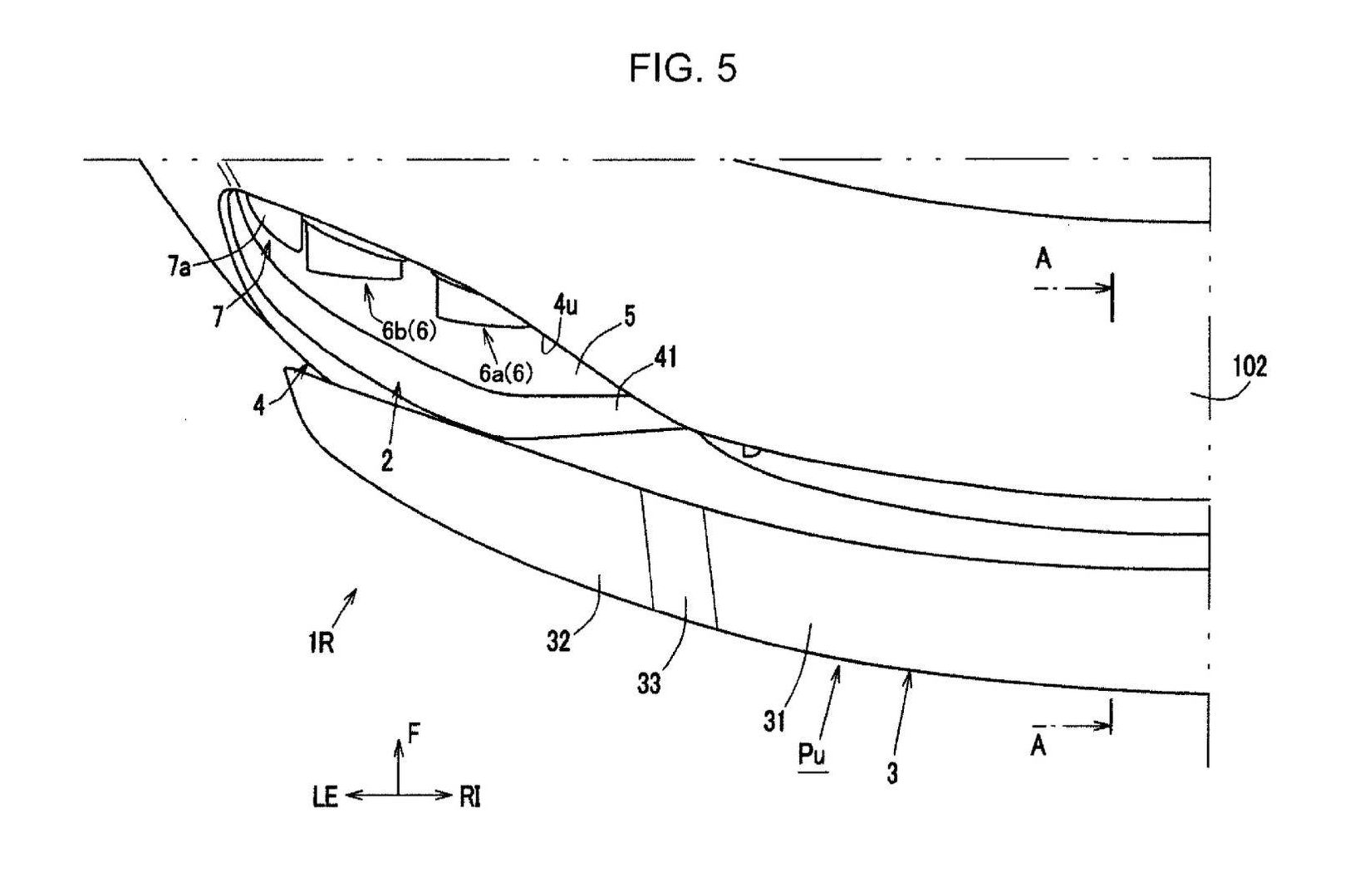
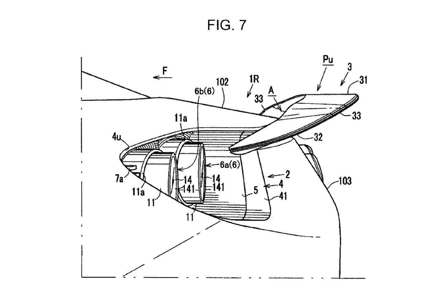
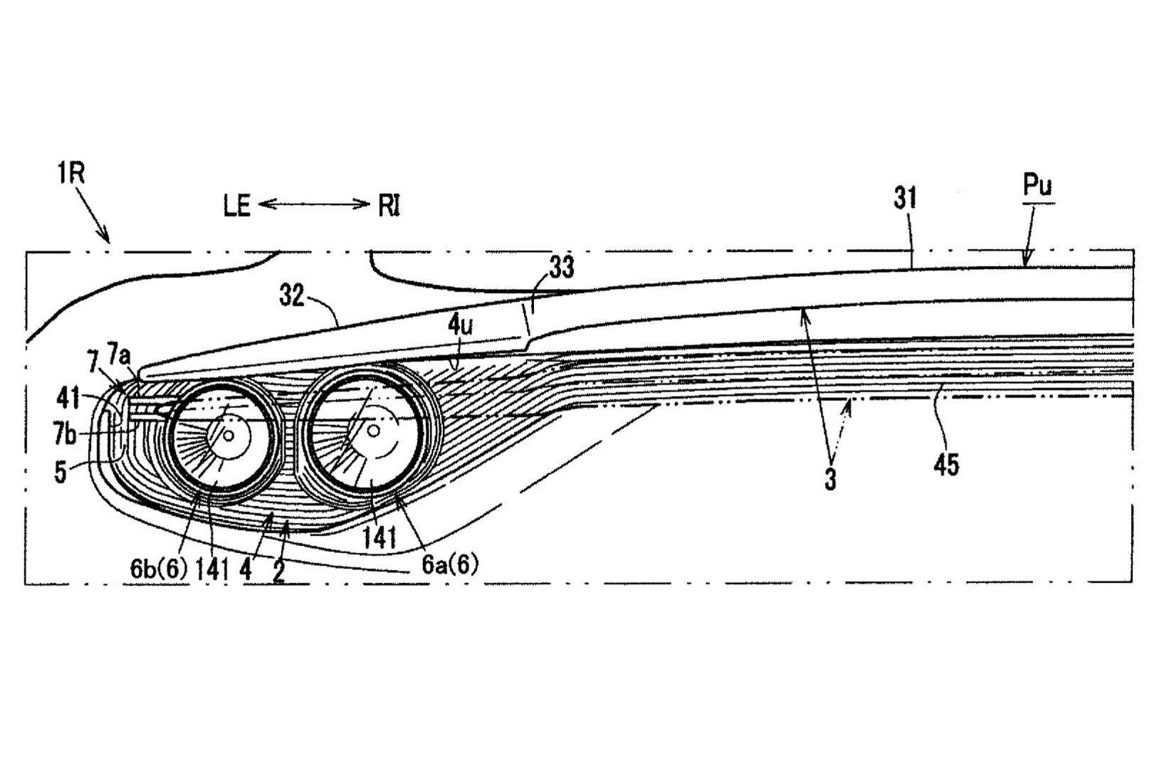
Újabb szabadalmat nyújtott be a Mazda, ami ezúttal egy aktív szárnyat ábrázol. A vékony, leszorítóerőért felelős lemez használaton kívül egybeolvadna a csomagtérajtóval és behúzódna a hátsó lámpák elé, terhelés alatt pedig - és várhatóan fékezés során - nem csak hátra csúszna, de fel is nyílna. Egyelőre egy elnagyolt tetővel rajzolt Mazda MX-5-ön ábrázolják, de ha jól megfigyeljük, ismerős lehet a vékony szárny mögött megbújó dupla fénykör és lámpaburkolat, méghozzá az újabb Wankel-motoros korszak előhírnökeként fejlesztett RX-Vision sportkupé koncepcióról.
[BANNER type="1"]
Érdekes egybeesés, hogy épp az idei Tokiói Autószalonra szeretné frissíteni ezen rotoros koncepcióját a Mazda, tehát lehetséges, hogy már most debütál porondon a mozgatható hátsó szárny, bár egy újabb forgótárcsás Mazda modellre még biztos, hogy éveket kell várnunk.
Dögös far mutatós lámpákkal és sebességre aktiválódó szárnnyal. Máris várom a következő Mazda sportmodellt
-Hirdetés -









