Akár teljesen is összecsukhatjuk városi autónkat, ráadásul a tengelytáv is jócskán csökkenthető
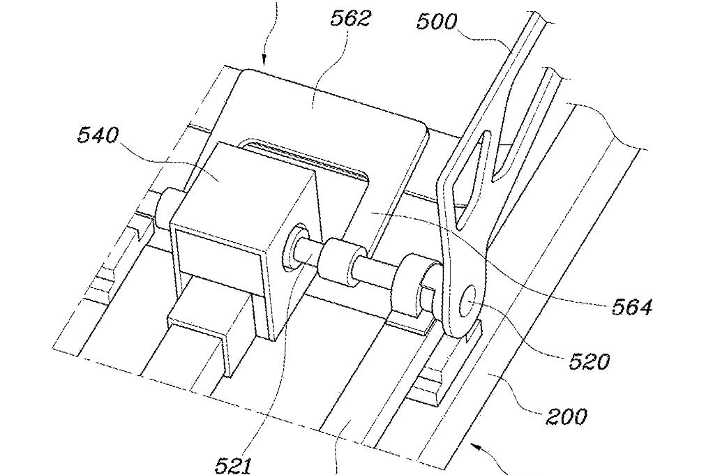
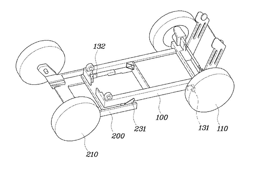
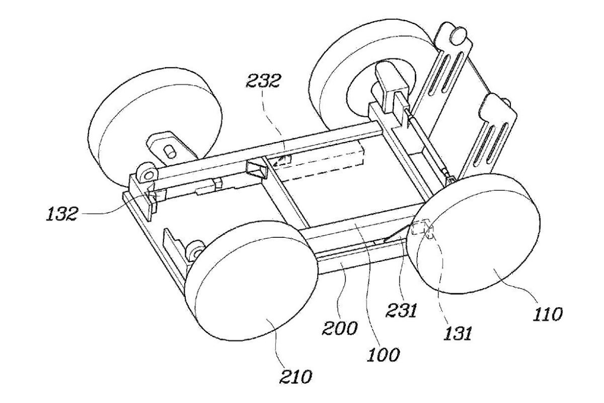
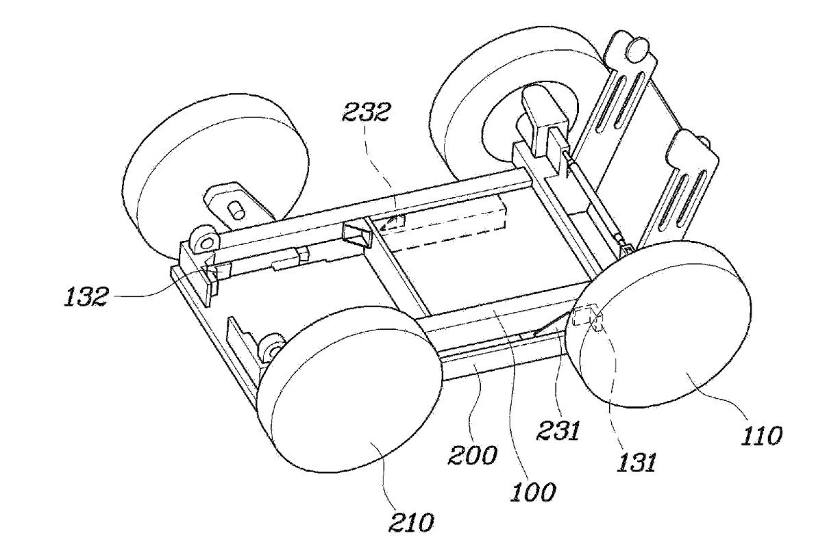
Miközben minden figyelem az új Ioniqra szegeződött a Hyundai háza táján, ők a háttérben szabadalmaztattak Amerikában egy összecsukható városi autót. A mellékelt rajzokat a Szabadalmi Hivatal osztotta meg, és a leírás szerint az összecsukható jármű első padlólemeze az első kerekekkel van csatlakoztatva, valamint a hátsó padlólemez a hátsó kerekekhez kapcsolódik. Ez rendben is van eddig, de a csavar a dologban, hogy ezek a lemezek egymás felett, illetve alatt csúsztathatóak, így növelhetjük vagy csökkenthetjük a tengelytávot.
[BANNER type="1"]
Egyszer smart crossblade, másodszor babakocsi
Szintén a szabadalomból lehetett megtudni, hogy az első részbe egy szélvédő került, ami előre és hátra is forgatható, valamint a hátsó kabin is fel-le hajtható, mint egy kabriónál. Amikor a szélvédőt és a hátsó utasteret összehajtjuk, a tető része a kocsin belül helyezkedik el. Ez talán furcsának tűnhet elsőre, de a rajzokat megnézve, nem is tűnik olyan bonyolultnak a Hyundai különleges munkája. Egy összecsukható városi autó nemcsak izgalmas, hanem optimális megoldás lehet a zsúfolt városokban, ahol elég trükkös üres parkolóhelyet találni. Bár az ilyen autók még nagyon a jövő zenéi, egyre több különleges megoldást szabadalmaztatnak a gyártók a városi problémák megoldására.
-Hirdetés -









Ide jutottunk – a Hyundai cég már új ötleteket szabadalmaztat. Valami nagyon azt súgja, hogy egyszer a világ autógyártásának csúcsán fogjuk őket viszontlátni.